
Bettar
Bettar Top S II 8 - náhradní díly
Kód produktu: PUMP-BETTAR-TOP-S-II-8-NA
0 (0 hodnocení)
Krátký popis
Katalog náhradních dílů - ceny od 22 Kč
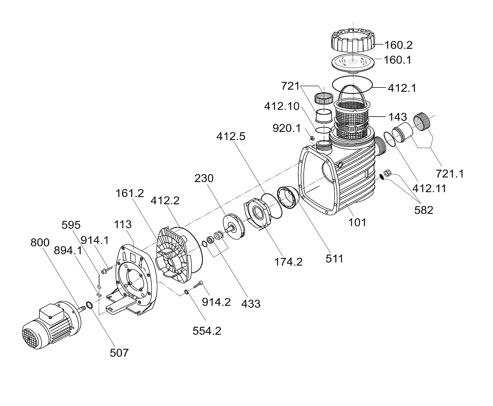
Toto je katalog náhradních dílů
Vyberte díl ze seznamu níže
Popis produktu
Náhradní díly pro Bettar Top S II 8 - náhradní díly
Náhradní díly pro Bettar Top S II 8 - náhradní díly

| Obrázek | Číslo díluČíslo | Název | SKU | Cena | Dostupnost | Akce |
|---|---|---|---|---|---|---|
| 101 | Tělo čerpadla BADU BETTAR TOP SKU: 2921110117 | 2921110117 | 3 650 Kč | Skladem (1 ks) | ||
| 113 | PŘÍRUBA ČERPADLA BETTAR SKU: 2921111305 | 2921111305 | 1 150 Kč | Skladem (1 ks) | ||
| 143 | Košík předfiltru BETTAR SKU: 2920314300 | 2920314300 | 525 Kč | Skladem (5 ks) | ||
| 160.1 | VÍKO PŘEDFILTRU BADU 90- VÍČKO SKU: 2921116010 | 2921116010 | 1 120 Kč | Skladem (1 ks) | ||
| 160.2 | VÍKO PŘEDFILTRU BADU 90- MATICE SKU: 2921116020 | 2921116020 | 1 120 Kč | Skladem (1 ks) | ||
| 161.2 | Čelo čerpadla BETTAR SKU: 2921116125 | 2921116125 | 835 Kč | Skladem (2 ks) | ||
| 174.2 | Difusor BETTAR SKU: 2920117420 | 2920117420 | 609 Kč | Skladem (3 ks) | ||
| 230 | Turbína BETTAR 8 SKU: 2921123004 | 2921123004 | 890 Kč | Skladem (3 ks) | ||
| 412.1 | TĚS.VÍKA PŘEDFILTRU BADU 90 ,137X5 SKU: 2921141210 | 2921141210 | 215 Kč | Skladem (1 ks) | ||
| 412.2 | Těsnění těla čerpadla BETTAR SKU: 2921141220 | 2921141220 | 164 Kč | Skladem (1 ks) | ||
| 412.5 | Těsnění difusoru BETTAR SKU: 2921141255 | 2921141255 | 60 Kč | Skladem (1 ks) | ||
| 412.10 | Těsnění připojovacího šroubení SKU: 2920141252 | 2920141252 | 53 Kč | Skladem (10 ks) | ||
| 412.11 | O-KROUŽEK MANŽETY 63 BETTAR BADU TOP SKU: 2921441210 | 2921441210 | 42 Kč | Skladem (1 ks) | ||
| 433 | Těsnící segment BADU 14mm 412.3+475+433 SKU: 2920143315 | 2920143315 | 929 Kč | Skladem (3 ks) | ||
| 507 | Odstříkovací kroužek BETTAR 8/12 SKU: 2921150700 | 2921150700 | 23 Kč | Skladem (5 ks) | ||
| 511 | Nástavec difusoru BETTAR SKU: 2921151105 | 2921151105 | 479 Kč | Skladem (3 ks) | ||
| 582 | Vypouštěcí zátka SKU: 2921658200 | 2921658200 | 35 Kč | Skladem (5 ks) | ||
| 595 | Gumová opěrka SKU: 2920359501 | 2920359501 | 35 Kč | Vyprodáno | ||
| 721 | PŘEVLEČNÁ MATICE BETTAR BADU TOP 63MM SKU: 2921472111 | 2921472111 | 130 Kč | Skladem (1 ks) | ||
| 721 | Manžeta 50mm IN - čerpadlo Magic, Bettar SKU: 2921672105 | 2921672105 | 95 Kč | Skladem (1 ks) | ||
| 721.1 | Převlečená matice 50mm Bettar Top SKU: 2921672111 | 2921672111 | 105 Kč | Skladem (1 ks) | ||
| 721.1 | MANŽETA 63MM IN BETTAR BADU TOP SKU: 2921472100 | 2921472100 | 95 Kč | Skladem (1 ks) | ||
| 914.1 | ŠROUB M6X60 SKU: 2921191416 | 2921191416 | 22 Kč | Skladem (1 ks) | ||
| 914.2 | Stahovací šroub BETTAR SKU: 5879120825 | 5879120825 | 24 Kč | Vyprodáno | ||
KONDENZÁTOR 16uF BADU 8/12/14 SKU: 2921183710 | 2921183710 | 1 190 Kč | Skladem (1 ks) | |||
VENTILÁTOR BADU 90-TOP 8/12 SKU: 2920183121 | 2920183121 | 950 Kč | Skladem (1 ks) | |||
KRYT VENTILÁTORU BADU TOP 8/12 SKU: 2920158202 | 2920158202 | 1 090 Kč | Skladem (1 ks) |
Hodnocení zákazníků
Načítání recenzí...
